合作客戶/
拜耳公司 |
同濟大學 |
聯合大學 |
美國保潔 |
美國強生 |
瑞士羅氏 |
相關新聞Info
推薦新聞Info
-
> 表麵張力對青瓷製品釉麵質量的影響
> 什麽叫熔體,表麵張力對陶瓷熔體的作用機理
> 基於遺傳算法優化提高界麵張力的預測速度和精度
> 家畜中獸藥配方中的改性表麵活性劑吐溫20,可降低藥物與胃腸液之間的界麵張力
> 什麽是表麵張力?91视频下载安装的結構組成、測試過程、校準方法、分類及應用
> 91视频下载安装測量數據影響因素:清潔、溫度、氣相壓力
> 基於表麵張力方法判斷物質(或材料)的親水性(二)
> 基於表麵張力方法判斷物質(或材料)的親水性(一)
> 膜分析儀應用:膽固醇對 hBest1/POPC 和 hBest1/SM Langmuir 單分子層的
> 人從高處跳水會在水麵摔死嗎?這與水麵張力有何關係
便於調節的91视频下载安装結構組成及原理
來源:江門市優彼思化學技術有限公司 瀏覽 142 次 發布時間:2024-04-22
91视频下载安装快速、可靠的質量控製模式,設定測量參數後可以準確測量並顯示表麵張力值,能夠獨立設定測量範圍、測試數據數目、測量的平均值,是研發的理想工具。
現有的91视频下载安装包括殼體、工作台和標準板,殼體內設置有工作腔,殼體上設置有玻璃門,工作台設置於工作腔內,且工作台上放置有盛液盒,標準板通過連接繩連接於工作腔頂部,標準板設置於盛液盒上方;91视频下载安装通常采用吊環法來測定純液體表麵的張力,其基本原理是將浸在液麵上的標準板脫離液麵,其所需的最大拉力,等於標準板自身重量加上表麵張力與被脫離液麵周長的乘積。
針對上述相關技術,發明人認為91视频下载安装在使用前需要進行調平操作,因為是利用重力原理進行表麵張力的測定,若放置91视频下载安装的操作台存在細微傾斜,會影響91视频下载安装的測量結果,導致測量數據出現偏差。
便於調節的91视频下载安装結構組成
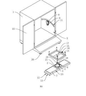
參照圖1,包括殼體1、工作台2、盛液盒3和標準板4,殼體1內設置有工作腔5,殼體1底部設置有多個支撐腳20,在本申請實施例中,支撐腳20設置為四個,四個支撐腳20設置於殼體1的四角位置;殼體1上鉸接有兩轉動門22;工作台2設置於工作腔5內,工作台2上開設有與盛液盒3適配的放置槽21,盛液盒3可放置於放置槽21中,標準板4設置於盛液盒3上方,標準板4通過升降結構可升降連接於殼體1上,工作台2上固定連接有水平儀6,在本申請實施例中水平儀6選用氣泡式水平儀,也可選擇其他體積較小的水平儀;工作台2和殼體1之間設置有用於調平工作台2的調平結構。
參照圖2和圖3,調平結構包括調節板7、齒輪一8、齒輪二9和用於驅動齒輪二9轉動的旋鈕10,調節板7轉動連接於殼體1內,殼體1上開設有供調節板7移動的滑槽11,調節板7的底麵呈弧形凹麵12設置且弧形凹麵12上開設有齒槽13,調節板7頂麵的兩側邊倒有倒角23;齒輪一8和齒槽13齧合;齒輪一8和齒輪二9均轉動連接於殼體1上,齒輪一8和齒輪二9齧合,齒輪二9的齒數小於齒輪一8的齒數,從而達到一個減速的作用,旋鈕10設置於殼體1外。
在對操作台進行調平時,工作人員旋轉旋鈕10,驅動齒輪二9轉動,齒輪一8隨之轉動,調節板7隨齒輪一8轉動,工作人員可以一邊調節旋鈕10一邊觀測水平儀6,在本申請實施例中選用氣泡式水平儀6,當氣泡位於水平儀6的中間時,說明工作台2處於水平狀態,停止轉動旋鈕10即完成工作台2的調平;人工驅動使得工作人員可以一邊觀測水平儀6一邊調節調節板7。
參照圖3,升降結構包括升降架14、卷輥15和用於驅動卷輥15的電機16,升降架14固定連接於殼體1的頂麵上,卷輥15轉動連接於升降架14上,電機16固定連接於升降架14上,連接繩17的一端固定連於所述卷輥15上,連接繩17的另一端固定連接有吊環18,標準板4上固定連接有掛鉤19,掛鉤19可掛接於吊環18上。
在對待測液的液麵進行張力測量時,電機16驅動卷輥15轉動使連接繩17脫離卷輥15,直至標準板4進入待測液內,然後電機16反向轉動收卷連接繩17,使標準板4脫離待測液,即完成對待測液的液麵張力的測量;升降架14的設置便於調節待測液的液麵和標準板4之間的距離;也可以通過調節連接繩17垂落的長度對待測液的液麵和標準板4之間的距離進行調節,一般連接繩17的長度是固定的,為了便於控製標準板4的高度,因為采用機械驅動,若連接繩17過長可能出現連接繩17垂落的長度無法控製的情況,從而影響測量結果。
原理
在對操作台進行調平時,工作人員旋轉旋鈕10,驅動齒輪二9轉動,齒輪一8隨之轉動,調節板7隨齒輪一8轉動,當水平儀6顯示操作台處於水平狀態時,即將操作台調平;然後啟動電機16,電機16驅動卷輥15轉動,使連接繩17脫離卷輥15,標準板4進入待測液中,然後電機16驅動卷輥15反向轉動,卷輥15收卷連接繩17,使標準板4脫離待測液的液麵,即完成對待測液的液麵張力的測量。





